Опубликовано 10 января 2022, 08:31
1 мин.

BMW показала, как работает «руль будущего»

Баварская марка запатентовала технологию, которая позволяет управлять машиной одной рукой
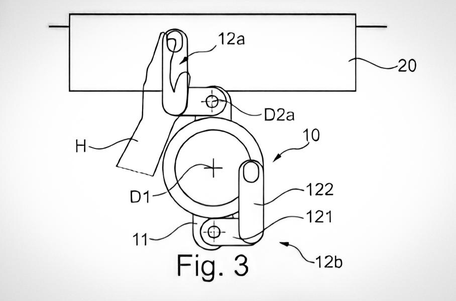
Компания BMW получила патент на необычный руль: он выполнен в форме штурвала с парой рукояток и предназначен в том числе для управления одной рукой. Судя по описанию, технология может быть внедрена на беспилотных транспортных средствах, в которых водителю необязательно следить за дорогой. Издание Car and Driver предполагает, что речь может идти о беспилотниках третьего уровня автономности по классификации SAE и выше.
BMW показала, как работает «руль будущего»
© uspto.gov

По задумке BMW, «руль будущего» состоит из круглой центральной части и двух свободно вращающихся «рукояток» по обе стороны от нее. Если водитель берет управление на себя, то он держится за рукоятку и перемещает ее по дуге рулевого колеса, не меняя вертикального положения самой рукоятки. Отдельно подчеркивается, что таким образом можно «рулить» одной рукой.

Из документов, опубликованных в открытой базе патентного ведомства США, следует, что «штурвал» сделали максимально компактным, чтобы освободить пространство перед водителем — это позволило бы использовать в дороге крупный гаджет, например, планшет.

BMW уже успела запатентовать эту технологию не только в США, но также в Китае и Германии. Однако это еще не гарантирует, что в ближайшее время компания начнет устанавливать подобный руль на серийные автомобили.

  1. motor.ru.net/
  2. Новости/