Опубликовано 11 июля 2023, 10:00
1 мин.

Автомобили BMW смогут менять цвет кузова по желанию владельца

Разработка позволит настраивать оттенок экстерьера и даже интерьера под настроение владельца
Компания BMW готова к серийному производству автомобилей, меняющих цвет кузова. В базе Всемирной организации интеллектуальной собственности обнаружились два патента, которые позволят выпускать машины-хамелеоны: их цвет можно будет настраивать моментально без использования краски. Причем касается это не только экстерьера, но и салона, так как инновационная пленка может быть наклеена на любую трехмерную поверхность.
Автомобили BMW смогут менять цвет кузова по желанию владельца
© CarBuzz

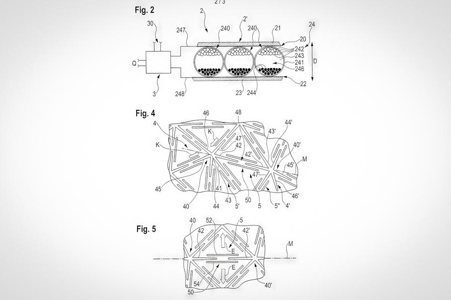
Первый патент раскрывает особенности декоративной пленки, представляющей собой «умное» стекло с миллионами микроскопических капсул толщиной не более человеческого волоса. Они могут быть белого и черного цветов либо других сочетаний на выбор покупателя. При электростимуляции на поверхности пленки будут собираться частицы определенного цвета, окрашивая кузов в желаемый оттенок. Хозяину автомобиля нужно будет лишь воспользоваться переключателем.

Эту же технологию можно будет применять к элементам экстерьера, таким как решетка радиатора или корпуса зеркал, а также к деталям салона. Пленка обволакивает любую объемную поверхность благодаря структуре из множества крошечных треугольников.

Второй патент затрагивает метод нанесения этого декоративного слоя на автомобили. Судя по всему, BMW прибегнет к простому клею, сделав пленку самоклеящейся. А вот ее внешняя часть нуждается в особой защите: сверху будет нанесена еще одна пленка, а затем — слой прозрачного лака.

Когда технология станет доступна для серийных BMW, пока неизвестно. Баварцы демонстрировали ее применение больше года назад на концептуальном кроссовере iX Flow с «беспрецедентным потенциалом для персонализации», который менял цвет в реальном времени. Правда, ему доступны были только черный и белый цвета.

  1. motor.ru.net/
  2. Новости/