Опубликовано 12 февраля 2022, 20:59
1 мин.

Toyota разрабатывает имитацию «механики» для электрокаров

Японская корпорация готова усложнить конструкцию в угоду «драйверским» ощущениям
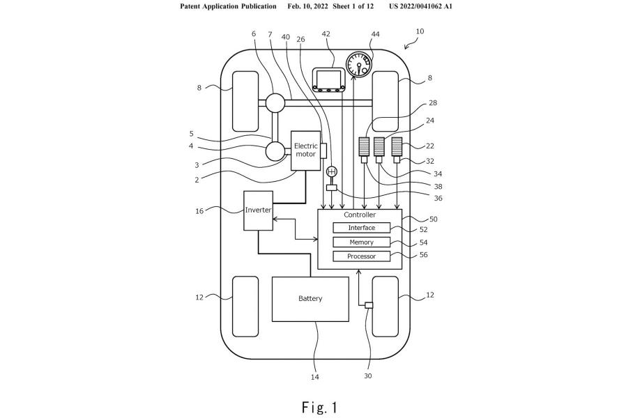
Toyota разрабатывает имитацию «механики» для электрокаров. В США зарегистрированы восемь патентов, которые описывают технологию ручного переключения скоростей на автомобилях с электродвигателем — инженеры готовы искусственно ограничивать отдачу силовой установки, чтобы вернуть педаль сцепления, традиционный рычаг коробки передач и даже виртуальный тахометр! Технология может быть востребована на электрических спорткарах.
Toyota разрабатывает имитацию «механики» для электрокаров
© Toyota
Читайте на тему:

Описание патентов Toyota позволяет понять, что «механикой» в полном смысле этого слова инновационная система не будет — речь идёт об искусной электронной симуляции ручной коробки передач. Зато можно предусмотреть три режима работы — полностью автоматический, ручной без педали сцепления и ручной с педалью сцепления.

Toyota разрабатывает имитацию «механики» для электрокаров

Чтобы наделить электродвигатель несвойственными ему характеристиками, придётся добавить целую россыпь датчиков и контроллеров. Очевидно, речь идёт о создании специального программного обеспечения, имитирующего картографию бензинового мотора.

За правильным переключением скоростей будет следить компьютер, и ничего не мешает ограничить крутящий момент, если водитель не переключил передачу или заглушить мотор, если слишком резко брошена педаль сцепления.

Найдет ли «фейковая» механическая коробка передач применение на серийных автомобилях Toyota — неизвестно. Однако синтетический звук, который имитирует работу двигателя внутреннего сгорания, на многих электромобилях уже есть, и, возможно, симулятор работы трансмиссии в будущем тоже приживётся.

Источник:BZ Forums
  1. motor.ru.net/
  2. Новости/