Опубликовано 15 февраля 2022, 09:15
2 мин.

Обновленная Lada Vesta: опубликованы технические характеристики

АвтоВАЗ получил Одобрение типа транспортного средства на Vesta FL
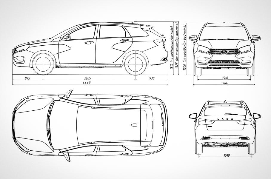
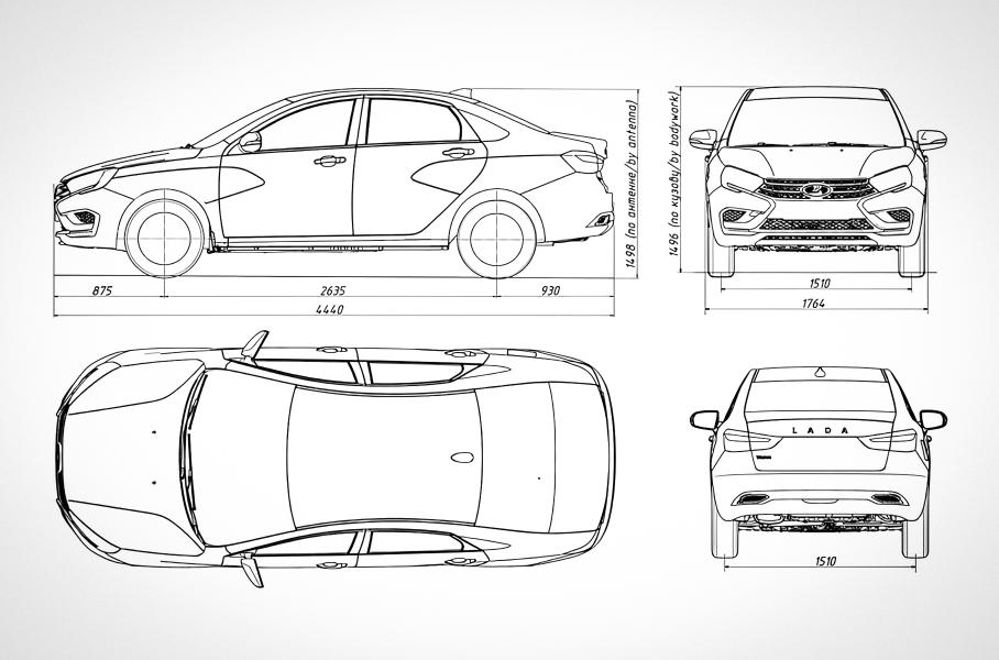
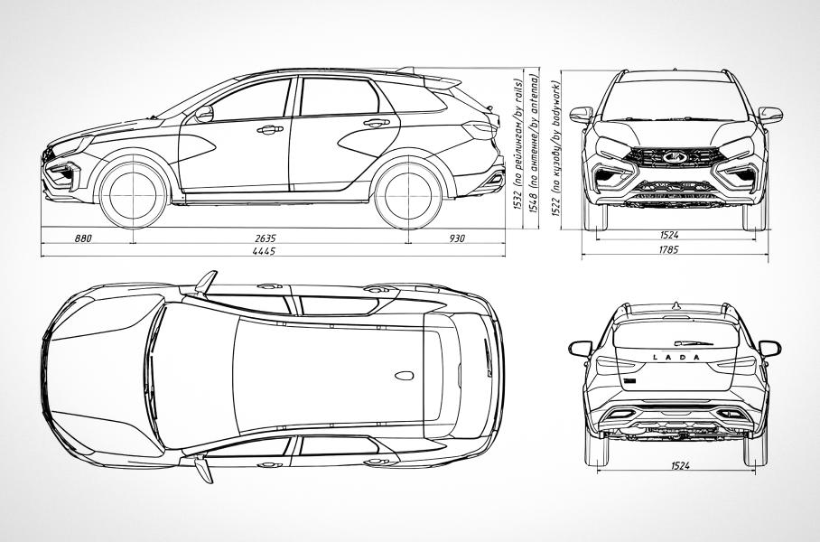
Обновленная Lada Vesta сертифицирована: она получила Одобрение типа транспортного средства (ОТТС), которое позволяет производить и продавать новые автомобили на территории России. В документе, опубликованном в открытой базе Росстандарта, содержатся технические характеристики модели, в том числе габариты и данные о моторах. И если по размерам новинка отличается от нынешней Весты, то в гамме двигателей изменений нет.
Обновленная Lada Vesta: опубликованы технические характеристики
© Алексей Степанов / Drom.ru

Lada Vesta FL стала еще на шаг ближе к запуску. Из ОТТС следует, что с обновлением габариты седана и универсала незначительно изменятся: они станут чуть выше и длиннее за счет новых бамперов. Так, длина рестайлинговой четырехдверки составляет 4440 миллиметров против 4410 миллиметров у дорестайлинговой модели, у длина универсала с приставкой FL — 4445 миллиметров против 4410. Разница в высоте составляет всего несколько сантиметров.

Для обновленной Весты заявлены те же моторы, которые устанавливаются на актуальную модель. Это бензиновые атмосферные агрегаты ВАЗ 21129 (1,6 литра, 106 лошадиных сил), ВАЗ 21179 (1,8 литра, 122 лошадиных сил), а также французский двигатель Renault H4M-HR16DE (1,6 литра, 113 лошадиных сил). Коробки передач тоже прежние — «механика» и вариатор Jatco. В документе также содержится информация о размерности шин и дисков: 185/65 R15,195/55 R16 и 205/50 R17.

Неделей ранее АвтоВАЗ запатентовал дизайн новой приборной панели для Vesta FL. Речь идет о «приборке» для модели начальных уровней с аналоговыми приборами: она состоит из двух циферблатов (спидометра и тахометра) и центрального экрана, тогда как у дореформенной Весты за рулем три «колодца». На топовые Весты будут впервые устанавливать заводскую цифровую панель приборов.

В середине января Lada опубликовала видео, посвященное Vesta FL. В ролике показали оптику обновленной модели, которая будет светодиодной (но только в самых дорогих версиях). К слову, в самой компании новинку называют «новым поколением», хотя на деле это все же рестайлинг.

Источник:Росстандарт
  1. motor.ru.net/
  2. Новости/